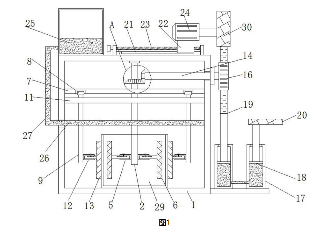
本实用新型涉及器皿清洗技术领域,且公开了一种实验室刷瓶装置,包括机箱,所述机箱的内部设有瓶本体,所述机箱的内部顶壁上通过轴承转动连接有转轴,所述转轴的外表面固定连接有第一锥形齿轮,所述转轴的外表面固定连接有主动齿轮,所述转轴的外表面固定连接有一组第一伸缩件。该实验室刷瓶装置,通过设置的丝杆,通过旋转丝杆,可使螺母带动驱动马达移动,当偏心轮移动至齿条的上方后,在踏板的重力下,踏板向下挤右侧活塞左侧的活塞和齿条向上移动,使齿条的顶端始终与偏心轮相抵接,驱动马达带动偏心轮旋转,可带动齿条上下移动,进而带动横杆往复旋转,可代替人工,起到自动清洗的效果,从而达到即可手动也可自动清理的目的。


